内页banner
当前位置:首页 > 新闻信息 > 行业新闻 > 盐水在线分析仪系统及自动控制信息化技术应用

新闻中心 News

联系我们Contact Us

江苏一脉科技有限公司

联系人:于总

手机:13004465239(技术)

电话:0523-82832919

传真:0523-89705657

网址:www.yimaitech.com

地址:泰兴市姚王街道众创集聚区阳江路东延南侧

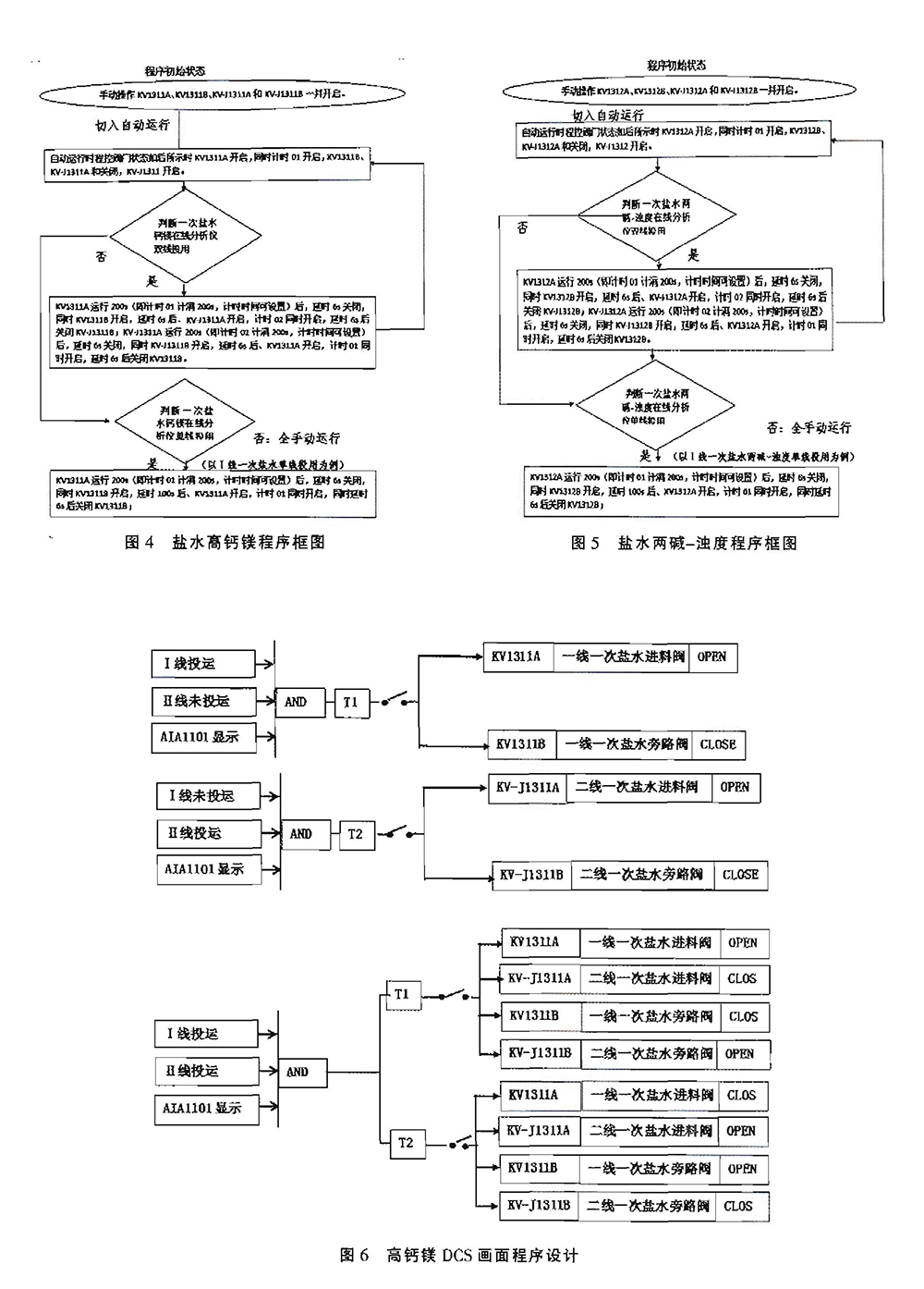
盐水在线分析仪系统及自动控制信息化技术应用

来源:www.yimaitech.com 发表时间:2023-06-19

地点:泰兴市姚王街道众创集聚区阳江路东延南侧

业务热线13004465239(技术)             电话:0523-82832919

邮箱:ywj@yimaitech.com